5000亿P2P龙头平台轰然倒下,公司被立案创始人被抓
发布: 2021-09-29 15:49:32 作者: 佚名 来源: 每日经济新闻
9月25日,深圳市公安局福田分局发布关于“红岭创投”“投资宝”“红岭资本”的案情通报。
通报称,“红岭创投”网贷平台、“投资宝”网贷平台、“红岭资本”线下理财项目涉嫌非法集资犯罪活动,深圳市公安分局福田分局已于近日依法对相关人员涉嫌非法吸收公众存款、集资诈骗罪立案侦查,并对涉案嫌疑人依法采取刑事强制措施。

来源:深圳市公安局福田分局官方微信
警方对红岭系立案侦查
警方在通报中表示,警方现已全面掌握“红岭创投”“投资宝”“红岭资本”投资人数据和相关财务数据,投资人如需另行报案,可通过线上、邮寄、短信、电话等方式进行报案登记。
9月25日,据红岭创投官网,该平台运营时间仍在继续自动跳动,但其交易数据却早已定格。

来源:红岭创投官网
数据显示,在上线经营12余年时间里,红岭创投平台累计出借人超过274万,累计出借金额超过4500亿元,累计交易笔数高达1234万笔。不过,这些出借人中的很大一部分人如今已经深陷兑付危机旋涡。
在警方发布立案通报的同时,红岭创投在官网也发布了相关公告称,公司将积极配合警方调查工作。调查期间,社区论坛、客服电话、在线客服等保持畅通。

来源:红岭创投官网
公开资料显示,周世平在2009年创立了红岭创投。值得关注的是,在创立网贷平台之前,周世平曾经是一位A股的“牛散”。
红岭创投官网显示,周世平1968年2月生于江苏如皋,1993年开始长期专注于国内证券市场及上市公司价值研究,超过20年证券投资经验,2008年下半年开始筹备成立网贷平台红岭创投。
据悉,红岭创投创始人周世平此前曾被称作“网贷教父”,除了创立红岭系网贷平台外,其还是多家A股上市公司的重要股东。今年7月22日晚间,深南股份公告称,公司控股股东、实际控制人周世平已被采取刑事强制措施。
还有超150亿元未兑付

2019年3月,周世平在红岭创投论坛上突然发布“虽然清盘,但不是说再见”的清盘声明,并推出全部出借款三年内完成全额兑付的方案。具体为:第一年(2019年)兑付20%;第二年(2020年)兑付35%;第三年(2021年)兑付45%。
2020年6月,周世平在接受《国际金融报》采访时表示,红岭创投“三年清退计划”将难以按期完成,“比原来的预期稍微降低,到期资产处置任务将完成80%左右”。
另外,去年周世平曾在朋友圈中表示,作为平台的实际控制人,已经将个人资产全部清零,资金归集至监管账户,公司资产全部报备监管。
他还表示,红岭系平台有5000多亿元交易,最多时有55万出借人。
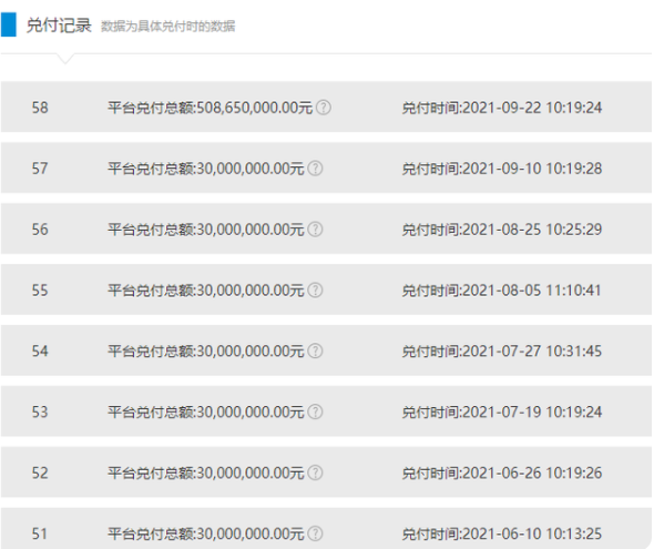
官网最新数据显示,目前平台已实施五十八次兑付安排,此前平台已实施五十七次兑付安排,合计已兑付约26.74亿元。为平稳安排兑付,拟于9月22日(周三)10:00进行第五十八次兑付,兑付金额为3000万元,本次兑付将按先本金后收益兑付方案,先行兑付本金。本次兑付后已累计兑付27亿元,剩余待兑付156.7691亿元。

图片来源:红岭创投官网
据界面新闻报道,9月22日,本次红岭创投兑付金额超过5亿元,达到约5.09亿元。
一位红岭创投的投资者表示,对于本次陡增的兑付额度,很多出借人倍感意外。在红岭创投讨论区,关于此话题的讨论也十分热烈。

投资宝官网显示,9月16日,该平台发布了第32次兑付通知,兑付1000万。据了解,截至目前,投资宝仅仅兑付了4.1亿元,待兑付金额超过60亿元,兑付比例为6.2%。
而另一出借平台红岭资本的兑付比例更低。截至目前,仅仅兑付5400万元,待兑付金额超过10亿元,兑付比例仅5%。
今日新闻头条
我也说两句
已有评论 0 条 查看全部回复








