指上花语遭实名控诉,有恃无恐的背后究竟靠着何方神圣
发布: 2019-04-15 09:40:11 作者: 佚名 来源: 直销头条网
2017年,小单+商城模式在直销行业狠狠的“扬眉吐气”了一把。随着近几个月来微商的层出不穷,小单模式也备受微商青睐,他们借助社交电商与“被玩坏了的”直销模式,疯狂开疆拓土,期望在短时间内业绩爆发,狠捞一笔,然后悄悄离去,深藏功与名。
这也致使众多经销商操作变形,哪怕诈骗也在所不惜。近日,广州花之语生物科技有限公司遭到多人实名Diss,控诉其在运作过程中存在诈骗、传销行为,这家仅仅成立了8个月、主打塑身内衣和价格低廉的化妆品、生活日用品的网络销售公司,是否真的存在这种问题?如果存在,它是如何通过“花言巧语”去吸引“猎物”上钩的?在它的幕后,又有谁为其站台?

来自受害者的控诉
2018年12月,刘小云(化名)在劳动局技工学校参加美容培训,身为宝妈的她希望自己可以通过碎片时间赚点钱补贴家用。但她不知道的是,培训师与花语经销商串通一气,向她疯狂推荐花语产品,说服学员们加入花语,并将有想法的学员推荐给一位名为刘红梅的省代。
刘红梅在做花语之前,做过19年非正式编制的教师,她通过套近乎、打感情牌、讲述高大上的花之语项目以及描述快速赚钱的美好蓝图打动了刘小云,并说服她交纳5万元成为区域代理。
但刘小云只有3万5千元,于是,刘红梅告诉刘小云:“剩下的1万5千元我来帮忙凑一部分,我们赶紧把区代开通,好快速发展市场。”并向刘小云索取1万5千元的欠条,就这样,刘小云终于开通了自己的区域代理。


但好景不长,当刘小云通过与刘红梅的聊天后发觉该项目类似于传销时,她想撤退已经来不及了。


花之语以违反公司规定、负能量影响其他人以及触犯公司利益为由,将刘小云从区域代理降为合伙人,并发出公告。

3.5万元的投入,1.5万元的欠条,换来了5000元的产品,以及一个被一脚踢开的结果,无论是谁,都无法接受这样的情况发生,为了验证事情的真伪,头条资讯平台深入调查,对于刘小云这一事件,其公司人员表示:“是有这个事,但主要原因是她自己不听话,不愿意发展事业,影响他人。降级决定是公司高层的决定,没办法解决。”
那么,花之语项目究竟是什么?是不是传销?经销商究竟是否存在诈骗现象?
花语集团,何方神圣
如果论在微商圈的地位,相较于“慕色天使”、“向大大”、“幸福狐狸内衣”、“玫莉蔻”、还有曾经报道过的“缇丽莎尔”等大佬,花语似乎显得有些平淡无奇,籍籍无名,如果不是有受害人举报控诉,它也不会这么快走入众人的视野。

广州花之语生物科技有限公司(以下简称花之语),成立于2018年8月7日,公司法人代表是袁新艳,注册资金500万元,股东袁新艳,百分之百控股。
但经过调查后发现,花之语只是花语集团新商模式版块中的一个项目,也就是其在内地的子公司,负责化妆品销售,真正的总公司名为香港汇悦国际有限公司,该公司成立于2018年4月3日,其他信息未公开。
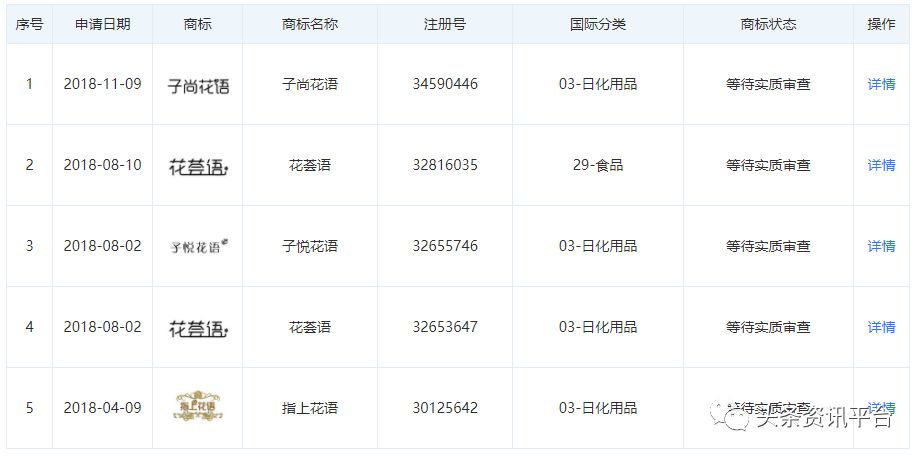
值得注意的是,香港汇悦国际从2018年4月—11月,分别注册了指上花语、花荟语、子悦花语、花荟语、子尚花语五个日化用品、食品商标。

这五个商标是目前花之语在其网上商城销售的产品,例如:子悦花语面膜、喷雾、面霜、精华乳眼霜等;指上花语面膜、精华、美肌水、面膏、水乳等;花荟语牙膏、卫生巾、洗发水、纸巾等;当然还有他们热推的产品,塑身内衣。而这些产品,据微商们介绍,是拥有化妆品生产许可证编号:粤妆20160594执行标准:QB/T 2872(最高护肤品标准)和通过IS022716-2007(E)和美国GMPC化妆品-良好生产规范认证的。

那么问题来了,花之语是一家化妆品网络销售公司,并未获得国家食品药品监督管理总局公示的化妆品生产经营许可证,即公司并不具备生产研发化妆品资质,那么,它所销售的产品来源于何处?
于是,真正的大佬出现了。据经销商所说,花之语的大股东以及花之语产品的生产厂家名为广州联颖化妆品有限公司(以下简称联颖),该公司成立于2002年6月10日,注册资本300万元,法人代表变更为郑荣海,股东由吴沧勇、邓峰云、郑荣海、任峰、杨丽华、刘艳琼、江淑萍七人构成。

提到联颖,相信大家对于它的名号可谓是如雷贯耳。“好事不出门,坏事传千里”,联颖的出名,不是它在化妆品生产领域的时间长、资格老,而是劣迹斑斑的过往。
联颖:不堪回首的过往
联颖真正“崭露头角”,是在2016年1月18日,在国家食品药品监督管理总局所抽检的化妆品中,发现有50批次面膜类化妆品抽检不合格,其中就有广州联颖化妆品有限公司所生产的蕾珂美冰凝雪肌嫩滑冰膜,不合格原因为“存在非法添加禁用物质”。
2018年8月,国家食品药品监督管理总局在此发布关于18批次化妆品不合格通告,广州联颖生产的BOSSDUN.MEN®波斯顿净白隔离防晒乳SPF30不合格,原因为其标注的限用日期分别为2021年10月9日和2021年10月17日,根据所标示的3年保质期推算,生产日期为2017年10月9日和2017年10月17日,而该化妆品取得的行政许可批件截止日期为2015年9月21日。

同年10月,广州市白云区食药监局公布了《2018年10月行政处罚信息公开表》。共有14起与化妆品相关的行政处罚,个人1起,化妆品销售企业5起,化妆品生产企业8起,其中,广州联颖化妆品有限公司赫然在立。

值得一提的是,2018年11月山东省滨州市滨城区政府网站公示了一则处罚决定书:东营润妍生物科技有限公司被滨州市滨城区工商局认定为运用爱润妍网上商城采取发展会员、计酬返利的传销模式销售爱润妍系列化妆品,没收违法所得8004043.00元,罚款200万元。
而“爱润妍”系列化妆品的生产厂商,正是大名鼎鼎的联颖。

当然,除此之外,联颖由于产品责任、买卖合同、房屋租赁合同、财产损害赔偿纠纷以及网络购物合同被其他人或公司起诉,就更加稀松平常了。

以及生产未取得批准文号的特殊用途化妆品案遭受到的行政处罚......

总而言之,花之语背靠如此劣迹斑斑的化妆品生产厂商联颖,那么发生诈骗、传销一案就显得顺理成章了。
花语花语,花言巧语
如果不是亲身经历,很难想象花之语经销商竟存在着一言不合就张口要钱的习惯。
卢某是花之语陕西省省代,当她得知笔者想要了解花之语项目后,便极力邀请笔者前去参加花之语培训,以及4月18日在武汉召开的新品发布会,并要求:“拿出点诚意来,交点定金。”

当问到需要多少定金时,对方表明5000元,而这5000元定金的去向以及作用,都没有提及,只是说:“今天5000元,明天还你5万元。”

但其实,想要成为花之语的会员,很简单,只要在他们的官方APP上购物满39.8元,也就是一折购买他们398元的产品,就可以成为会员。

普通会员奖金制度很简单,A成为普通会员后,向B推荐购买39.8元的产品,那么就可以赚取3元,B推荐给C,C消费39.8元,则B赚3元,A躺赚3元,如此裂变,无下限。

据省代刘红梅讲,花之语产品质量可以比肩国内外大牌产品,例如克丽缇娜,产品质量非常好,而且价格便宜,所以非常好招会员。
比普通会员高级的,是充值1000VIP,刘红梅介绍:“我们送你1000元的产品,一个单品你可以赚到13块,相较而言收入会提高很多。并且,推荐一个1000VIP可以赚推荐费400元,这个人再推荐一个1000VIP,我们躺赚100,直到第三代截至。”
简单来讲,就是A推荐B,A赚400,B推荐C,A赚100,C推荐D,A赚100。
再高级别的,就是3万元的合伙人。据介绍,3万元的合伙人,配套60套塑身衣,价值约3万元,以及30个VIP名额,可以享受无限代的收入。
何为无限代收入?刘红梅说:“就是比你级别低的人,卖出去的产品,你都赚钱。比如,一件塑身衣,三代以内,每一个人买一件,你赚112元,三代以外,会员和VIP赚了他们的钱之后,还余下来20多元,厂家是不回收的,这些钱就是你躺赚的。但是如果有人找你直接拿货,那么你就赚零售差价,一件186元。”
那么,30个VIP名额有什么用?刘红梅说:“30个VIP名额,就是你招收30个VIP,每个人1000元,你都是自己收,不用交给公司,超过30个,则超过的名额,要交给公司,但你可以赚推荐奖,一位400元。”
那么,可不可以补vip名额?答案是:可以。只需要将花语产品摆放在实体店铺内,宣传推广,那么公司会根据店铺面积,补助免费产品以及20—50个vip名额。
如果招收的是同级别3万元合伙人呢?刘红梅解释,这样的话,每招收一位,公司给你1万元推荐奖。
还有更高级别的区县合伙人、市级合伙人以及省级合伙人,均有着不同的奖金制度。

虽然刘红梅一再强调,花语是以卖产品来赚钱,但是,做为明眼人,一眼就可以看穿其中的把戏,就是赤裸裸的拉人头赚钱。
而花语所宣传的“F2C”模式,也只是为低廉的产品价格找一个理由罢了,就像他们讲自己公司的塑型衣Only Flower和中脉LACA相比,穿着更舒适、价位更低廉,其实从本质上,都是一丘之貉而已。

后记
刘小云事件后,头条资讯平台深入调查花之语后发现五个问题:
第一、刘红梅所说,3万元合伙人给3万元的产品,5万元合伙人给5万元产品,那为什么刘小云交纳5万元成为合伙人,却只拿到了5000元的产品呢?
第二、刘小云事件该如何解决?
第三、广州联颖化妆品有限公司化妆品生产许可证有效期至2018年1月28日,那么现在花之语的产品,批号究竟来自何处?
第四、省代收取的费用,究竟用作何处?交纳定金的意义是什么?
第五、花之语能否更加规范的发展?
以上五个问题,头条资讯平台将持续关注。
今日新闻头条
我也说两句
已有评论 0 条 查看全部回复








