六部委联合警示“消费返利”三大风险;骗子平台名单曝光
发布: 2018-04-14 10:10:41 作者: 佚名 来源: POS圈支付网

4月12日,中国银行保险监督管理委员会、工业和信息化部、人民银行等六部委联合发布公告,提醒消费者注意近期一些第三方平台以承诺高额甚至全额返还消费款、加盟费等吸引消费者、商家投入资金的行为。公告称,此类“消费返利”不同于正常商家返利促销活动,存在较大风险隐患。
近年来,“消费返利”模式逐渐走进公众视野,“满500元返500元”之类的宣传语对普通消费者来说颇有诱惑性,但消费返利这一模式背后存在的风险值得引起警惕。4月12日,中国银行保险监督管理委员会、工业和信息化部、公安部、商务部、人民银行、国家市场监督管理总局发布公告,提醒消费者应注意“消费返利”中存在的高额返利难以实现、资金安全无法保障、运行模式存违法风险三大问题。
所谓的消费返现,是一些第三方平台打着“创业”、“创新”的旗号,以“购物返本”、“消费等于赚钱”、“你消费我还钱”为噱头,承诺高额甚至全额返还消费款、加盟费等,以此吸引消费者、商家投入资金。央行等六部门指出,此类“消费返利”不同于正常商家返利促销活动,存在较大风险隐患。
首先是高额返利难以实现。监管部门指出,返利资金主要来源于商品溢价收入、会员和加盟商缴纳的费用,多数平台不存在与其承诺回报相匹配的正当实体经济和收益,资金运转和高额返利难以长期维系。其次是资金安全无法保障。一些平台通过线上、线下途径,以“预付消费”、“充值”等方式吸收公众和商家资金,大量资金由平台控制,存在转移资金、卷款跑路的风险。
另外,消费返现的运营模式存在违法风险。央行等部门强调,一些平台虚构盈利前景、承诺高额回报,授意或默许会员、加盟商虚构商品交易,直接向平台缴纳一定比例费用,谋取高额返利,平台则通过此方式达到快速吸收公众资金的目的。部分平台还采用传销的手法,以所谓“动态收益”为诱饵,要求加入者缴纳入门费并“拉人头”发展人员加入,靠发展下线获取提成。平台及参与人员的上述行为具有非法集资、传销等违法行为的特征。
按照有关规定,参与非法集资不受法律保护,风险自担,责任自负;参与传销属违法行为,将依法承担相应责任。
对于如何防范和识别返利骗局的问题,北京科技大学金融管理学院金融系主任、博士生导师刘澄表示,正规的商家消费返利活动存在可持续性,不会突发无法兑现携款而逃等现象。其次,产品本身具有相应价值,全额返现、高额返现自然风险度较大,应杜绝贪小便宜、盲目消费等心理现象,进行正当消费,明确商家返现背后的真正原因(产品过季促销等)。最后,要对价格远高于价值的返利商品进行多方位衡量,提高防范意识和识别能力。
刘澄介绍,目前对于涉嫌非法集资的消费返利行为,投资者在遭遇投资亏损后,即便采取法律起诉手段,也可能面临证据不足等情况,难以挽回损失。所以在加强市场监督部门与经侦部门联合打击的基础上,普通消费者还是应该首先提高警惕,学习金融安全知识。
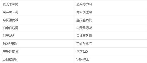
警惕:消费全返(返利)传销骗局不完全名单曝光,全国各地已纷纷预警





附:六部委联合发布防范“消费返利”风险全文
防范“消费返利”风险 谨防利益受损
中国银行保险监督管理委员会、工业和信息化部、公安部、商务部、人民银行、国家市场监督管理总局提示:
近期,一些第三方平台打着“创业”“创新”的旗号,以“购物返本”“消费等于赚钱”“你消费我还钱”为噱头,承诺高额甚至全额返还消费款、加盟费等,以此吸引消费者、商家投入资金。此类“消费返利”不同于正常商家返利促销活动,存在较大风险隐患:
一、高额返利难以实现。返利资金主要来源于商品溢价收入、会员和加盟商缴纳的费用,多数平台不存在与其承诺回报相匹配的正当实体经济和收益,资金运转和高额返利难以长期维系。
二、资金安全无法保障。一些平台通过线上、线下途径,以“预付消费”“充值”等方式吸收公众和商家资金,大量资金由平台控制,存在转移资金、卷款跑路的风险。
三、运营模式存在违法风险。一些平台虚构盈利前景、承诺高额回报,授意或默许会员、加盟商虚构商品交易,直接向平台缴纳一定比例费用,谋取高额返利,平台则通过此方式达到快速吸收公众资金的目的。部分平台还采用传销的手法,以所谓“动态收益”为诱饵,要求加入者缴纳入门费并“拉人头”发展人员加入,靠发展下线获取提成。平台及参与人员的上述行为具有非法集资、传销等违法行为的特征。
此类平台运作模式违背价值规律,一旦资金链断裂,参与者将面临严重损失。按照有关规定,参与非法集资不受法律保护,风险自担,责任自负;参与传销属违法行为,将依法承担相应责任。请广大公众和商家提高警惕,增强风险防范意识和识别能力,防止利益受损。同时,对掌握的违法犯罪线索,可积极向有关部门反映。
上一篇:阳春公安揭秘网络传销团伙“罗拟钱”覆... 下一篇: 陕西警方提醒:警惕网络传销七种诈骗形式
今日新闻头条
我也说两句
已有评论 0 条 查看全部回复








