中国直销网 中国直销网
当前位置:首页 > 业内公司获牌企业如新(中国)>> 正文

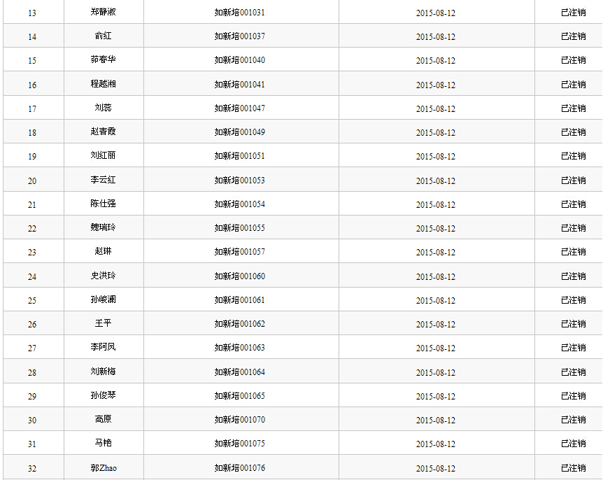
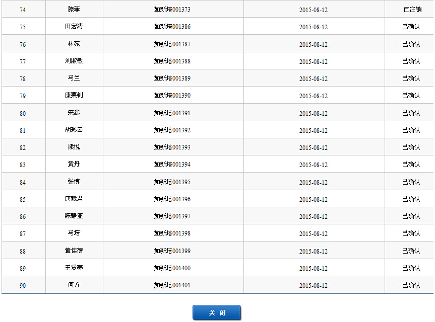
商务部发布如新增减直销培训员备案

发布: 2015-08-13 09:53:54    作者: 佚名   来源: 商务部  

\
\
\
\
\
今日新闻头条
我也说两句
验证码:    
已有评论 0 条 查看全部回复
全搜索

站内最新

直销资讯 直销研究

最新文章

直销公司 直销人才

相关·文章

教育培训 健康美容

热点·文章

直销家园 直销论坛

推荐·文章

人才首页 我要加入

直销·人才