玫琳凯直销区域新增4省216区,获批34省和安利并列第一
发布: 2013-07-24 11:32:56 作者: 未知 来源: 商务部直销行业管理信息系统
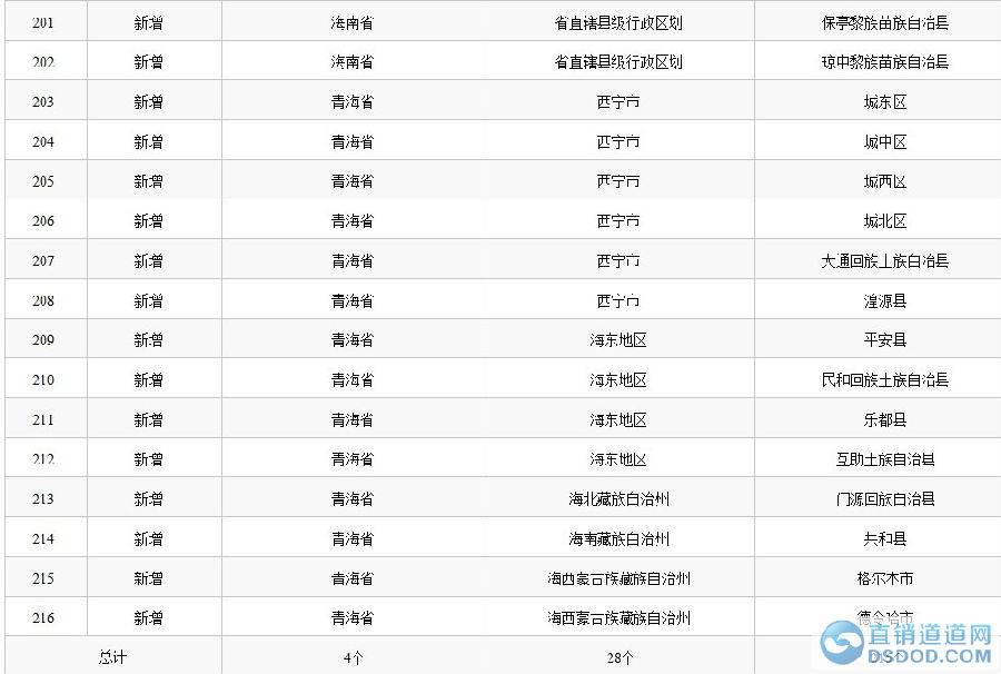
7月23日,商务部直销行业管理信息系统公布玫琳凯新增4个省级分支机构,直销区域新增4省28市216区。截止目前,玫琳凯直销区域为34 省(区、市)305 市(州盟)1759 区(县)。
据了解,目前获批直销区域达34省的仅有玫琳凯和安利两家,另外,雅芳获批直销区域为32省名列第二,无限极获批直销区域27省名列第三。

详情如下:

关键词:玫琳凯 新增 4省216区
今日新闻头条
我也说两句
已有评论 0 条 查看全部回复









